CA-DV8706SF-Q1

f_ico03.svg

工程送样

汽车级H桥电机预驱动器

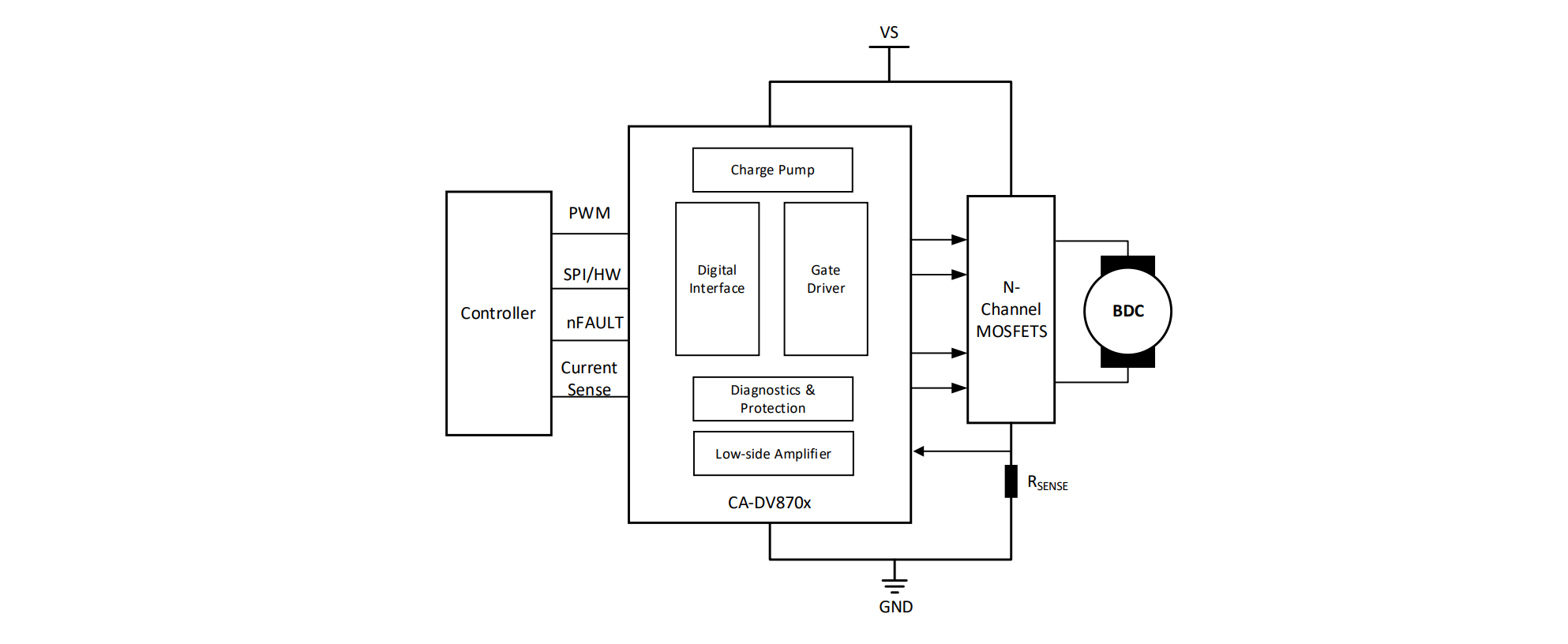
CA-DV8706xF-Q1 是一款高度集成式 H 桥栅极驱动器,能够驱动高侧和低侧 N 沟道功率 MOSFET。它可使用集成式倍增电荷泵(针对高侧)和线性稳压器(针对低侧)生成合适的栅极驱动电压。

该器件通过使用可调栅极驱动架构来降低系统成本并提高可靠性。栅极驱动器可优化死区时间以避免出现击穿问题,通过可调栅极驱动电流对电磁干扰 (EMI) 进行控制,而且可通过 VDS 和 VGS 监控器来防止漏源极和栅极短路问题。

宽共模电流分流放大器可用于高侧、低侧或负载侧配置,即使在循环期间也可持续测量电机电流。

CA-DV8706xF-Q1 提供了一系列保护功能,可确保系统稳定运行。此类功能包括适用于电源和电荷泵的欠压和过压监控、适用于外部 MOSFET 的 VDS 过流和 VGS栅极故障监控、离线开路负载和短路诊断,以及内部热警告和热关断保护功能。

QFN32(F).png
  • 特性

    符合面向汽车应用的 AEC-Q100 标准

    温度等级 1:–40°C 至 +125°C,TA

    提供功能安全

    有助于进行功能安全系统设计的文档

    H 桥可调栅极驱动器

    5V 至 37V(绝对最大值 40V)工作电压范围
    倍增电荷泵可实现 100% PWM
    半桥、 H 桥控制及螺线管控制模式

    可调栅极驱动架构

    可调压摆率控制
    0.5 mA 至 96 mA 峰值拉/灌电流输出
    集成死区时间握手

    宽共模电流分流放大器

    支持高侧、低侧或负载侧电流采样
    可调增益设置(10、20、40、80 V/V)
    集成反馈电阻
    可调 PWM 消隐方案

    提供多个接口选项

    SPI:详细配置和诊断
    H/W:简化的控制和更少的 MCU 引脚

    展频时钟可降低 EMI

    集成保护特性

    专用驱动器禁用引脚 (DRVOFF)
    电源和稳压器电压监控器
    MOSFET VDS 过流监控器
    MOSFET VGS 栅极故障监控器
    用于反极性 MOSFET 的电荷泵
    离线负载开路和短路诊断(SPI 配置)
    器件热警告和热关断
    故障条件中断引脚 (nFAULT)

  • 应用

    • 汽车底盘驻车制动系统

    • 电动天窗、车窗升降器和滑动门

    • 电动座椅模块

    • 电动后备箱和后备箱门

    • BDC 燃油泵、水泵、机油泵

    • 挡风玻璃雨刮器

    • 螺线管和继电器

  • 器件信息

    零件号封装封装尺寸(标称值)
    CA-DV8706xF-Q1

    QFN32

    5mm x 5 mm
  • 简化通道结构图

    企业微信截图_1745984659344.png